1.- Un conductor hueco tiene dos cargas positivas (en color rojo).
En el hueco se introduce un conductor cargado con 4 cargas positivas. Dibuja la nueva distribución de carga. Justifica la respuesta.
Se pone en contacto el conductor interior con el hueco. Dibuja la nueva distribución de carga. Justifica la respuesta.
Solución
El campo eléctrico en el interior de un conductor en equilibrio es cero. El exceso de carga se sitúa en la superficie del conductor
El campo en el interior del conductor es E =0. El flujo a través de la superficie de color amarillo es cero, la carga en el interior de la superficie de color amarillo es cero. Si introducimos 4+ en el hueco, aparecerán 4- en la superficie interior que rodea el hueco. Como el conductor estaba inicialmente cargado con 2+, la carga en su superficie exterior será de 6+.
Cuando el conductor interior se pone en contacto con el hueco. Las 4+ del conductor se transfieren a la superficie exterior del conductor. No hay carga en el interior de la superficie cerrada de color amarillo.
2.- Una esfera de 5 cm está uniformente cargada con una densidad
de carga de 1.2·10-5 /π C/m3 .
Calcular el módulo del
campo eléctrico a una distancia r del centro, en el interior (r <5)
y en el exterior (r >5) de la esfera cargada.
Calcular el potencial en el centro r =0, de la esfera.
Solución
Distribución de carga con simetría esférica.
El campo eléctrico tiene dirección radial, su módulo es
constante en todos los puntos de una superficie esférica concéntrica de radio
r .
El flujo del campo eléctrico
E
→
a través de dicha superficie
es
∮
E
→
·
d S
→
=
∮
E · d S · cos 0 = E
∮
d S = E · 4 π
r
2
Conocida la carga q contenida en una superficie esférica de radio r , determinamos el módulo del campo eléctrico E aplicando la ley de Gauss
∮
E
→
·
d S
→
=
q
ε
0
E =
q
4 π
ε
0
r
2
Para r <5 cm
q
=
1.2
·
10
−
5
π
4
3
π
r
3
=
1.6
·
10
−
5
r
3
E
=
144
000
·
r
N/C
Para r >5 cm
q
=
1.2
·
10
−
5
π
4
3
π
(
0.05
)
3
=
2
·
10
−
9
E
=
18
r
2
N/C
Gráfica del campo
Potencial
V =
∫
0
∞
E · d r =
∫
0
0.05
144 000 r · d r
+
∫
0.05
∞
18
r
2
· d r
= 540 V
3.- Un cilindro muy largo, macizo, de 5 cm de radio está uniformemente cargado en todo su volumen con una densidad de carga de 4·10-6 C/m3 .
Determinar, razonadamente, la expresión del campo eléctrico dentro
y fuera del cilindro.
Determinar la diferencia de potencial entre un punto situado en
el eje del cilindro y otro a 15 cm del mismo.
Solución
Distribución de carga con simetría cilíndrica.
El campo eléctrico tiene dirección radial y perpendicular al
eje del cilindro, su módulo es constante en todos los puntos de una superficie
cilíndrica de radio r y longitud L
El flujo del campo eléctrico
E
→
a través de dicha
superficie es
∮
E
→
·
d S
→
= {
s . lateral
∫
E
→
·
d S
→
=
∫
E · d S · cos 0 = E
∫
d S = E · 2 π r L
base inferior
∫
E
→
·
d S
→
= 0
E
→
⊥
S
2
→
base superior
∫
E
→
·
d S
→
= 0
E
→
⊥
S
1
→
∮
E
→
·
d S
→
= E · 2 π r L
Conocida la carga q contenida en una superficie cilíndrica de radio r y longitud L , determinamos el módulo del campo eléctrico E aplicando la ley de Gauss
∮
E
→
·
d S
→
=
q
ε
0
E =
q
2 π
ε
0
r L
Para r <5 cm
q
=
4
·
10
−
6
π
r
2
L
=
4
π
·
10
−
6
r
2
L
E
=
72
000
π
·
r
N/C
Para r >5 cm
q
=
4
·
10
−
6
π
(
0.05
)
2
L
=
π
·
10
−
8
L
E
=
180
π
r
N/C
Gráfica del campo
Diferencia de potencial
V
0
−
V
15
=
∫
0
0.15
E · d r
=
∫
0
0.05
72 000 π r · d r
+
∫
0.05
0.15
180 π
r
· d r
= 90 π ( 1 + 2 ln 3 ) V
4.- Una placa plana, está uniformemente cargada, con una
densidad de carga de σ =2/π 10-9 C/m2 .
Calcular el módulo del campo eléctrico.
Hallar la diferencia de potencial entre dos puntos situados a 1 cm y 8 cm de la placa
Solución
Distribución de carga con simetría plana.
El campo eléctrico tiene dirección perpendicular al plano
cargado. Para calcular el flujo tomamos una superficie cilíndrica cuyo eje es
perpendicular al plano cargado y cuya sección es S.
El flujo del campo eléctrico
E
→
a través de dicha superficie es
∮
E
→
·
d S
→
= {
superficie lateral
∫
E
→
·
d S
→
= 0
E
→
⊥
d S
→
base izquierda
∫
E
→
·
d S
→
=
E
→
·
S
1
→
= E S
base derecha
∫
E
→
·
d S
→
=
E
→
·
S
2
→
= E S
∮
E
→
·
d S
→
= 2 E · S
Conocida la carga q contenida en dicha superficie cilíndrica, determinamos el módulo del campo eléctrico E aplicando la ley de Gauss
∮
E
→
·
d S
→
=
q
ε
0
E =
q
2 S
ε
0
Es la carga que hay en la porción de placa de área S marcada en color rojo es q=σ·S
E =
σ
2
ε
0
= 36 N/C
Gráfica del campo
Diferencia de potencial
V
1
−
V
8
=
∫
0.01
0.08
E · d r
=
∫
0.01
0.08
36 · d r
= 2.52 V
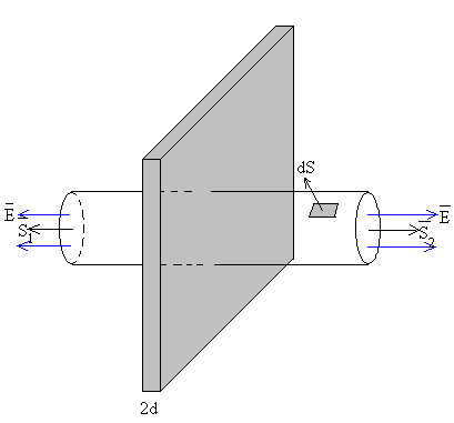
5.- Una placa plana, indefinida de espesor 2d =2 cm, está
uniformemente cargada, con una densidad de carga de ρ =2 10-8 C/m3 .
Obtener razonadamente la expresión del campo eléctrico en el
interior y en el exterior de dicha placa.
Representar el módulo del campo eléctrico en función de la
distancia a la placa.
Hallar la diferencia de potencial entre el origen (plano que
divide a la placa por la mitad) y un punto situado a 5 cm de dicho plano.
Solución
Distribución de carga con simetría plana.
El campo eléctrico tiene dirección perpendicular al plano
cargado. Para calcular el flujo tomamos una superficie cilíndrica cuyo eje es
perpendicular al plano cargado y cuya sección es S.
El flujo del campo eléctrico
E
→
a través de dicha
superficie es
∮
E
→
·
d S
→
= {
superficie lateral
∫
E
→
·
d S
→
= 0
E
→
⊥
d S
→
base izquierda
∫
E
→
·
d S
→
=
E
→
·
S
1
→
= E S
base derecha
∫
E
→
·
d S
→
=
E
→
·
S
2
→
= E S
∮
E
→
·
d S
→
= 2 E · S
Conocida la carga q contenida en dicha superficie cilíndrica, determinamos el módulo del campo eléctrico E aplicando la ley de Gauss
∮
E
→
·
d S
→
=
q
ε
0
E =
q
2 S
ε
0
Para x>d
La carga que hay en la porción cilíndrica de placa de área S y longitud 2d marcada en color rojo es q=ρ (2d )S
E =
ρ d
ε
0
= 7.2 π N/C
Para x<d
La carga que hay en la porción cilíndrica de placa de área S y longitud 2x marcada en color rojo es q=ρ (2x )S
E =
ρ x
ε
0
= 720 π x N/C
Gráfica del campo
Diferencia de potencial
V
0
−
V
5
=
∫
0
0.05
E · d x
=
∫
0
0.01
720 π x · d x
+
∫
0.01
0.05
7.2 π · d x
= 0.324 π V
Área de un triángulo más el área de un rectángulo
6.- Una esfera hueca de radio interior 3 cm y radio exterior
5 cm, contiene carga uniformemente distribuida por todo su volumen con una
densidad de 4 10-5 /π C/m3 . En su centro hay una
esfera conductora de 1 cm de radio cargada con -4·10-9 C.
Obtener, razonadamente, la expresión del campo eléctrico
en las siguientes regiones r <1, 1< r <3, 3<r <5, r >5.
Calcular el potencial del centro de la esfera conductora
Solución
Distribución de carga con simetría esférica.
El campo eléctrico tiene dirección radial, su módulo es
constante en todos los puntos de una superficie esférica concéntrica de radio r .
El flujo del campo eléctrico
E
→
a través de dicha superficie es
∮
E
→
·
d S
→
=
∮
E · d S · cos 0 =
E
∮
d S = E · 4 π
r
2
Conocida la carga q contenida en una superficie esférica de radio r , determinamos el módulo del campo eléctrico E aplicando la ley de Gauss
∮
E
→
·
d S
→
=
q
ε
0
r <1 cm.
En el interior de un conductor el campo
eléctrico es nulo, E =0
1<r <3 cm.
q =-4·10-9 C, la
carga de la esfera conductora
E
·
4
π
r
2
=
q
ε
0
E
=
−
36
r
2
Sentido hacia el centro.
3<r <5 cm.
La carga de la esfera conductora y
una parte de la carga de la esfera hueca.
q
=
−
4
·
10
−
9
+
4
π
10
−
5
(
4
3
π
r
3
−
4
3
π
0.03
3
)
E
·
4
π
r
2
=
q
ε
0
E
=
48
·
10
4
r
−
48.96
r
2
r >5 cm.
La carga de la esfera conductora y la
carga de la esfera hueca.
q
=
−
4
·
10
−
9
+
4
π
10
−
5
(
4
3
π
0.05
3
−
4
3
π
0.03
3
)
E
·
4
π
r
2
=
q
ε
0
E
=
11.04
r
2
N/C
Gráfica del campo
Potencial de la esfera conductora
V =
∫
0
∞
E · d r
=
∫
0.01
0.03
−
36
r
2
d r
+
∫
0.03
0.05
(
48 ·
10
4
r −
48.96
r
2
) d r
+
∫
0.05
∞
11.04
r
2
d r = − 2448 V
7.- Dos cilindros coaxiales muy largos, uno macizo y otro hueco
están cargados. El primero, que tiene un radio de 2 cm está uniformemente cargado en todo su volumen con una densidad de carga de 4·10-6 C/m3 El hueco de radio interior 5 cm y radio exterior 8 cm, es un conductor cargado con una carga por unidad de de longitud de -9·10-9 C/m.
Determinar razonadamente, la expresión del campo eléctrico
en las distintas regiones: r <2, 2<r <5, 5<r <8,
8<r cm.
Representar el campo en función de la distancia radial
Calcular la diferencia de
potencial entre un punto situado en el eje y otro situado a 15 cm del mismo, a lo largo de la dirección radial.
Solución
Distribución de carga con simetría cilíndrica.
El campo eléctrico tiene dirección radial y perpendicular al
eje del cilindro, su módulo es constante en todos los puntos de una superficie
cilíndrica de radio r y longitud L
El flujo del campo eléctrico
E
→
a través de dicha
superficie es
∮
E
→
·
d S
→
= {
s . lateral
∫
E
→
·
d S
→
=
∫
E · d S · cos 0 = E
∫
d S = E · 2 π r L
base inferior
∫
E
→
·
d S
→
= 0
E
→
⊥
S
2
→
base superior
∫
E
→
·
d S
→
= 0
E
→
⊥
S
1
→
∮
E
→
·
d S
→
= E · 2 π r L
Conocida la carga q contenida en una superficie
cilíndrica de radio r y longitud L , determinamos el módulo del campo eléctrico E aplicando la ley de Gauss
∮
E
→
·
d S
→
=
q
ε
0
E =
q
2 π
ε
0
r L
Para r <2 cm
q = 4 ·
10
− 6
π
r
2
L = 4 π ·
10
− 6
r
2
L
E = 72 000 π · r N/C
Para 2<r <5 cm
q = 4 ·
10
− 6
π
(
0.02
)
2
L = π · 1.6 ·
10
− 9
L
E =
28.8 π
r
N/C
Para 5<r <8 cm
En el interior de un conductor el campo eléctrico es E =0
Para r >8 cm
q = 4 ·
10
− 6
π
0.02
2
L − 9 ·
10
− 9
L = ( 1.6 π − 9 ) ·
10
− 9
L
E =
− 71.52
r
N/C
Gráfica del campo
Diferencia de potencial
V
0
−
V
15
=
∫
0
0.15
E · d r
=
∫
0
0.02
72 000 π r · d r
+
∫
0.02
0.05
28.8 π
r
· d r
+ 0 +
∫
0.08
0.15
− 71.52
r
· d r
= 83.18 V
8.- Dos cilindros coaxiales muy largos, uno macizo y otro hueco
están cargados. El primero que tiene un radio de 2 cm y es un conductor cargado con una carga por unidad de longitud de 9·10-9 C/m El hueco
de radio interior 5 cm y radio exterior 8 cm, está uniformemente cargado en
todo su volumen con una densidad -4/π·10-6 C/m3 .
Determinar la expresión del campo eléctrico en las
distintas regiones: r <2, 2<r <5, 5<r <8,
8<r cm.
Representar el campo en función de la distancia radial
Calcular la diferencia de potencial entre un punto situado
en el eje y otro situado a 15 cm del mismo, a lo largo de la dirección
radial.
Solución
Distribución de carga con simetría cilíndrica.
El campo eléctrico tiene dirección radial y perpendicular al
eje del cilindro, su módulo es constante en todos los puntos de una superficie
cilíndrica de radio r y longitud L
El flujo del campo eléctrico
E
→
a través de dicha
superficie es
∮
E
→
·
d S
→
= {
s . lateral
∫
E
→
·
d S
→
=
∫
E · d S · cos 0 = E
∫
d S = E · 2 π r L
base inferior
∫
E
→
·
d S
→
= 0
E
→
⊥
S
2
→
base superior
∫
E
→
·
d S
→
= 0
E
→
⊥
S
1
→
∮
E
→
·
d S
→
= E · 2 π r L
Conocida la carga q contenida en una superficie
cilíndrica de radio r y longitud L , determinamos el módulo del campo eléctrico E aplicando la ley de Gauss
∮
E
→
·
d S
→
=
q
ε
0
E =
q
2 π
ε
0
r L
Para r <2 cm
En el interior de un conductor el campo eléctrico es E =0
Para 2<r <5 cm
q = 9 ·
10
− 9
L E =
162
r
N/C
Para 5<r <8 cm
q = 9 ·
10
− 9
L −
4
π
·
10
− 6
(
π
r
2
− π
0.05
2
) L
E =
342
r
− 72 000 · r N/C
Para r >8 cm
q = 9 ·
10
− 9
L −
4
π
·
10
− 6
(
π
0.08
2
− π
0.05
2
) L
E =
− 118.8
r
N/C
Gráfica del campo
Diferencia de potencial
V
0
−
V
15
=
∫
0
0.15
E · d r
=
0 +
∫
0.02
0.05
162
r
· d r
+
∫
0.05
0.08
(
342
r
− 72 000 · r
) · d r
+
∫
0.08
0.15
− 118.8
r
· d r
= 94.1 V
9.- Sea una esfera aislada de 8 cm de radio cargada con una carga uniformemente distribuida en su volumen de 5.37·10-7 C/m3 .
Determinar razonadamente la expresión del campo eléctrico y el potencial a una distancia r del centro de la esfera, para r <8 cm y para r >8 cm.
Consideremos ahora el sistema formado por dicha esfera cuyo centro está en el origen y una la carga puntual Q de -2·10-9 C situada en el punto (12, 0) cm. Calcular el vector campo eléctrico y el potencial en los puntos A(-12, 0) y B(0, 6) cm.
Solución
Distribución de carga con simetría esférica.
El campo eléctrico tiene dirección radial, su módulo es
constante en todos los puntos de una superficie esférica concéntrica de radio r .
El flujo del campo eléctrico
E
→
a través de dicha
superficie es
∮
E
→
·
d S
→
=
∮
E · d S · cos 0 = E
∮
d S = E · 4 π
r
2
Conocida la carga q contenida en una superficie esférica de radio r , determinamos el módulo del campo eléctrico E aplicando la ley de Gauss
∮
E
→
·
d S
→
=
q
ε
0
r <8 cm.
La carga q es una parte de la carga total de la esfera uniformemente cargada
q = 5.37 ·
10
− 7
4
3
π
r
3
E · 4 π
r
2
=
q
ε
0
E = 20244.4 · r N/C
r >8 cm.
La carga q es la de la esfera cargada
q = 5.37 ·
10
− 7
4
3
π
0.08
3
E · 4 π
r
2
=
q
ε
0
E =
10.365
r
2
N/C
El potencial
V ( r ) =
∫
r
∞
E · d r =
∫
r
∞
10.365
r
2
d r =
10.365
r
r > 0.08
V ( r ) =
∫
r
∞
E · d r =
∫
r
0.08
20244.4 · r ·
d r +
∫
0.08
∞
10.365
r
2
d r = 194.34 − 10122.2 ·
r
2
r < 0.08
Sistema formado por la carga Q y la esfera uniformemente cargada
Cuando está presente la carga Q , el campo en A o B es la
suma vectorial del campo producido por la distribución esférica de carga y la
carga puntual.
Punto A
E
1
=
10.365
0.12
2
E
1
→
= 719.8 ·
i
^
E
2
= 9 ·
10
9
2 ·
10
− 9
0.24
2
E
2
→
= − 312.5 ·
i
^
E
A
→
=
E
1
→
+
E
2
→
= 407.3 ·
i
^
N/C
V
1
=
10.365
0.12
= 86.375
V
2
= 9 ·
10
9
− 2 ·
10
− 9
0.24
= − 75
V
A
=
V
1
+
V
2
= 11.375 V
Punto B
E
1
= 20244.4 · 0.06
E
1
→
= 1214.7 ·
j
^
E
2
= 9 ·
10
9
2 ·
10
− 9
0.06
2
+
0.12
2
= 1000 tan θ =
0.06
0.12
E
2
→
=
E
2
cos θ ·
i
^
−
E
2
sin θ ·
j
^
= 894.4 ·
i
^
− 447.2 ·
j
^
E
B
→
=
E
1
→
+
E
2
→
= 894.4 ·
i
^
+ 767.5 ·
j
^
N/C
V
1
= 194.34 − 10122.2 ·
0.06
2
= 157.90
V
2
= 9 ·
10
9
− 2 ·
10
− 9
0.06
2
+
0.12
2
= − 134.16
V
B
=
V
1
+
V
2
= 23.74 V
10.- Sea un sistema formado por dos esferas de radio a =4
cm. La de la izquierda cuyo centro está situado en el origen y tiene una carga uniformemente
distribuida en todo su volumen de 1.152·10-9 C. La de la derecha es
una esfera hueca cargada uniformente con -2.0·10-9 C, su centro está a 12 cm
de la primera.
Determinar, la expresión del campo eléctrico y del potencial de cada
esfera aisladamente en función de la distancia a su centro r , para r<a y
r>a .
Calcular el vector campo eléctrico y el potencial en los puntos A (0, 2
) cm, B (6, 0) cm, y C (12, -2) cm producido por ambas esferas.
Solución
11.- Un modelo de átomo consiste en un núcleo positivo representado por una carga
puntual carga +Q situado en el centro de una esfera de radio R ,
que tiene uniformemente distribuida una carga -Q en su interior.
Determinar de forma razonada la expresión del campo eléctrico a
una distancia r<R del centro de la esfera cargada. ¿Cuánto vale el campo para r>R ?.
Calcular la diferencia de potencial entre dos puntos situados a una distancia del centro r1 =R /2 y r2 =R , respectivamente.
Solución
Distribución de carga con simetría esférica.
El campo eléctrico tiene dirección radial, su módulo es
constante en todos los puntos de una superficie esférica concéntrica de radio
r .
El flujo del campo eléctrico
E
→
a través de dicha superficie
es
∮
E
→
·
d S
→
=
∮
E · d S · cos 0 = E
∮
d S = E · 4 π
r
2
Conocida la carga q contenida en una superficie esférica de radio r , determinamos el módulo del campo eléctrico E aplicando la ley de Gauss
∮
E
→
·
d S
→
=
q
ε
0
E =
q
4 π
ε
0
r
2
Para r<R
q = Q −
Q
4
3
π
R
3
4
3
π
r
3
= Q (
1 −
r
3
R
3
) E =
Q
4 π
ε
0
R
2
(
R
2
r
2
−
r
R
)
Para r>R
q=Q-Q =0, E =0
Diferencia de potencial
V
R / 2
−
V
R
=
∫
R / 2
R
E · d r
=
∫
R / 2
R
Q
4 π
ε
0
R
2
(
R
2
r
2
−
r
R
) · d r
=
5 Q
32 π
ε
0
R
12.- Dentro de una superficie esférica conductora de radio r 2 =20 cm, se coloca una esfera metálica de radio r 1 =10 cm, concéntrica. Esta esfera se conecta a Tierra, a través de un pequeño orificio que se ha hecho en la primera, tal como se muestra en la figura. Se coloca una carga Q =10-8 C en la esfera hueca exterior. Calcular
La carga q de la esfera metálica interior para que su potencial sea cero
El potencial de la esfera hueca de radio r 2
Problema de la IV Olimpiada Internacional de Física. Moscow, 1970
Solución
Distribución de carga con simetría esférica.
El campo eléctrico tiene dirección radial, su módulo es
constante en todos los puntos de una superficie esférica concéntrica de radio
r .
El flujo del campo eléctrico
E
→
a través de dicha superficie
es
∮
E
→
·
d S
→
=
∮
E · d S · cos 0 = E
∮
d S = E · 4 π
r
2
Conocida la carga q contenida en una superficie esférica de radio r , determinamos el módulo del campo eléctrico E aplicando la ley de Gauss
∮
E
→
·
d S
→
=
q
ε
0
E =
q
4 π
ε
0
r
2
Para este sistema.
r<r 1 , E =0
r 1 <r< r 2
E =
1
4 π
ε
0
q
r
2
r> r 2
E =
1
4 π
ε
0
Q + q
r
2
Calculamos el potencial de la esfera metálica de radio r 1
V
r
1
=
∫
r
1
r
2
1
4 π
ε
0
q
r
2
d r +
∫
r
2
∞
1
4 π
ε
0
Q + q
r
2
d r =
1
4 π
ε
0
(
q
r
1
−
q
r
2
) +
1
4 π
ε
0
Q + q
r
2
=
1
4 π
ε
0
(
q
r
1
+
Q
r
2
)
Como la esfera interior está conectada a Tierra, su potencial es cero, V 1 =0, lo que nos permite despejar su carga desconocida q
q = − Q
r
1
r
2
Con los datos del problema, q =-5·10-9 C
El potencial de la esfera hueca de radio r 2 es
V
r
2
=
∫
r
2
∞
1
4 π
ε
0
Q + q
r
2
d r =
1
4 π
ε
0
Q + q
r
2
=
1
4 π
ε
0
Q (
r
2
−
r
1
)
r
2
2
Con los datos del problema, V 2 =225 V